Электромагнитные помехи или шумы (EMI — electromagnetic interference or noise) — нежелательные электрические шумы, присутствующие в электросети. Эти шумы могут «просачиваться» и воздействовать на оборудование, которое даже не подключено к этой сети. Возникают в результате гальванических или индуктивных наводок, источником которых служит различное электрооборудование (электромоторы, реле, мощные широковещательные радиостанции, источники микроволнового излучения и грозы). Обычно приводит к ошибкам или потере данных, блокировке клавиатуры и (или) системы. Шумовые сигналы, действующие на значительных расстояниях, называются RFI (Radio Frequency Interference — радионаводки). Силовые кабели оборудования и зданий часто действуют как антенны, принимая радионаводки (RFI) и преобразуя их в EMI.
С линиями связи связано наибольшее количество неожиданных проблем. С ростом расстояния, на которое передается сигнал, неизбежно падает отношение сигнал-шум. Поэтому непосредственная передача сигналов по проводам и кабелям ограничена сравнительно малыми дистанциями. На расстояния более 500 м информация должна передаваться с использованием специального кодирования, частотной модуляции и других специальных мер защиты.
В пределах объекта (цеха, участка, установки) лучше всего использовать связи с дифференциальными двухпроводными линиями или передачу токовыми сигналами. При этом надо учесть уровни ослабления помех для низких частот при различных способах экранирования, ориентировочные относительные значения которых даны на рисунке. При прокладке линий связи следует учесть что существуют три основных типа наводимых помех:

а) помехи от сети и силового оборудования. Это типичные индуктивные помехи ближнего электромагнитного поля. Их интенсив



ность зависит от порождающего поле тока и от площади контура, образуемого проводниками, пересекаемыми полем. Поэтому основной метод борьбы с сетевыми помехами — уменьшение числа замкнутых контуров с малыми полными сопротивлениями (особенно опасны контуры в шине земли). При скрутке проводов дифференциальной пары (или сигнального провода с земляным) не только минимизируется площадь контура, но провода на каждом участке скрутки оказываются ориентированными в разные стороны по отношению к помехе;
б) электрические или емкостные помехи. Эти помехи часто вызываются емкостными связями между проводниками самой системы. Плоскостное расположение элементов, плоские многожильные жгуты (выпускаемые в готовом виде) и простейшее экранирование заземленными металлическими экранами обычно достаточно эффективны. При малых расстояниях между параллельно установленными печатными платами с быстродействующими цифровыми элементами фронты переключений этих элементов «пролезают» с платы на плату в виде коротких импульсов — «иголок». Лучший способ борьбы с этим явлением — установка между монтажными платами экранирующих плат из фольгированного текстолита с заземленным слоем фольги.
Для передачи токовых аналоговых сигналов могут служить преобразователи напряжение — ток и ток — напряжение.
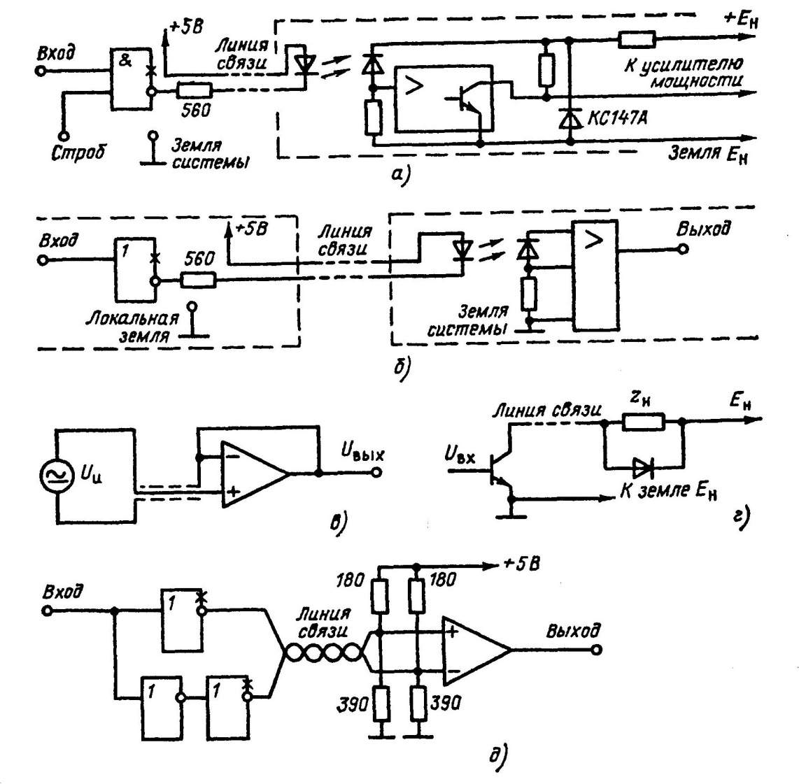
Если линия служит для управления мощными импульсными устройствами, например шаговыми двигателями, силовыми реле и т. п., то помимо помех, попадающих с линии, много проблем возникает с помехами от самих этих устройств. В этих условиях следует использовать оптронную гальваническую развязку на соответствующих логических выходах. Имеются серийные логические элементы с оптронными парами на входе (например, К262). Пример использования такой схемы дан на (рис. а). В этой схеме гарантируется замыкание любых токов нагрузки в контуре ее источника питания Ен.
На (рис. б) дан пример использования оптронной пары для связи локального устройства с центральным процессором. Так же как и в схеме (рис. а), здесь передача логических уровней ведется фактически током, и контуры токов источника сигнала и приемного устройства замыкаются независимо.

При организации связей надо предельно внимательно относиться к разъемам. У лучших типов сигнальных разъемов пружинные контакты розеток выполняются в виде не одной пластины, а ряда параллельных тонких пружинок, поэтому обеспечивается множество контактных точек в каждом соединении. Тем не менее окисная пленка может все равно препятствовать прохождению сигналов низкого уровня и вносить в цепь термо-ЭДС. Поэтому желательно использовать для сигналов низкого уровня разъемы с золочеными контактами. Прохождение высокочастотных сигналов низкого уровня через разъемы можно облегчить, пропуская через тот же контакт в одном направлении постоянный ток силой 0,5—1 мА.
в) Высокочастотные радиопомехи от ближних телевизионных станций, радиоаппаратуры, рентгеновских установок и т. п. Эти помехи наводятся на сетевые провода как на антенны и через межвитковые емкости трансформатора беспрепятственно попадают в схемы. Их уровень зависит от длины проводов-антенн. Схемные элементы обладают детектирующими свойствами, а потому даже работа низкочастотной аппаратуры может серьезно нарушаться такими помехами. Включение межобмоточного экрана (рис. 6.6) — полезная, но недостаточная мера. Желательно снабжать входящие сетевые провода ВЧ-продольным трансформатором. Это означает, что эти провода наматываются совместно тремя — пятью витками на ферритовый (Ф700, например) тороидальный (кольцевой) сердечник ФК диаметром 20—30 мм. Если нет возможности это сделать, то надо обязательно на эти провода надеть несколько ферритовых колец («бусин») диаметром 8—10 мм. Заметим, что на частотах до сотен килогерц эти «бусины» не влияют на работу самой схемы.






Не следует пытаться уменьшать ВЧ-помехи включением небольших конденсаторов между сетевыми проводами и землей схемы. Во-первых, это небезопасно (пробой конденсатора приведет к попаданию напряжения сети на корпус прибора), во-вторых, эти конденсаторы образуют с шинами схемы ВЧ-контуры, и ситуация может ухудшиться самым непредсказуемым образом. Вместе с тем цепь Rгас, Сгас снимет выбросы напряжения на первичной обмотке, могущие возникать при включении и отключении сети. Это значительно увеличит срок службы тумблера сети, уменьшит помехи и ослабит перенапряжения изоляции в трансформаторе.
Очень полезно вторую пару контактов сетевого тумблера использовать для включения параллельно Свп резистора Rбалл для быстрого разряда Свп при отключении сети. Это обеспечит быстрое обесточивание питаемой схемы при наладке и контроле, когда присутствие Um при отключенной сети может привести к случайному выводу схемы из строя.
При использовании экранированных кабелей следует учитывать большую емкость, вносимую ими и нагружающую источник сигнала. Один из способов уменьшения влияния емкости кабеля при передаче сигналов — введение следящей связи по экрану — показан на (рис. в). Ещё два полезных способа передачи и приема сигналов в линиях связи также даны на рисунке. На (рис. г) показано правильное подключение нагрузки (в частности, мощного реле, искателя, обмотки шагового двигателя, светового сигнала) к системе. Каскад усиления мощности располагается у источника сигнала, а не у нагрузки, поэтому последняя фактически управляется током, а не напряжением. При индуктивной нагрузке не забудьте поставить диод для демпфирования выброса, показанный на схеме. На (рис. д) изображена схема организации связи для логических или ЧИМ-сигналов с использованием дифференциальной пары, в которой могут использоваться обычные ТТЛ- или ТТЛШ-схемы и быстродействующий компаратор. Установка резисторов на приемном конце обязательна: витая пара действует как длинная линия с волновым сопротивлением около 100—200 Ом, и резисторы погасят возможные отражения. К линиям связи нельзя непосредственно присоединять тактируемые элементы (триггеры, одновибраторы и т. п.), они обязательно должны отделяться от линии буферными каскадами.
Подавление электромагнитных помех
Эффективным средством подавления электромагнитных помех (RFI/EMI) также являются индуктивные фильтры. Для улучшения массогабаритных характеристик высокочастотные дроссели фильтров выполняют на сердечниках из термостабильных высокочастотных марок ферритовых материалов.
К ним можно отнести никель-цинковые ферриты марок 20ВН, ЗОВН, 50ВН, характеризуемые высокой добротностью на частотах до 150 МГц, малыми значениями постоянной гистерезиса и относительного коэффициента магнитной проницаемости при длительном воздействии повышенных температур и при длительном хранении при относительной влажности до 85%.
Применение же более низкочастотных материалов снижает эффективность фильтра из-за уменьшения магнитной проницаемости, а также ухудшения добротности подавляющего контура. В табл. 3.7 приводятся основные параметры магнитомягких ферритов (ОСТ 11 707.015-77), а в табл. 3.8 — соответствующие аналоги, выпускаемые зарубежными фирмами. В табл. 3.7 используются нижеследующие параметры.
Начальная магнитная проницаемость — значение магнитной проницаемости на начальной или основной кривой намагничивания по индукции при стремлении напряженности магнитного поля к нулю, деленную на магнитную постоянную (ГОСТ 19693-74).
Критическая частота — это частота, при которой резко увеличивается fg d. Чем выше начальная магнитная проницаемость вещества, тем меньше граничная частота.
Тангенс угла магнитных потерь (tg d) — отношение мнимой части к действующей части комплексной магнитной проницаемости. При повышении частоты ƒ и напряженности магнитного поля Нт, начиная с некоторых значений, коэффициенты потерь возрастают.
Петля магнитного гистерезиса по индукции — есть замкнутая кривая, выражающая зависимость материала от амплитуды напряженности магнитного поля при периодическом достаточно медленном изменении напряженности поля (ГОСТ 19693-74).
Остаточная индукция Вr —индукция, которая остается в материале после снятия внешнего магнитного поля.
Коэрцитивная сила по индукции Нс — величина, равная напряженности магнитного поля, необходимого для изменения индукции от Вr до нуля.
Удельное электрическое сопротивление — величина, скалярная для изотропного вещества и векторная для анизотропного, равная отношению модуля напряженности электрического поля к модулю плотности тока, размерность Ом х См.
|
Марка |
Начальная магнитная проницаемость при 20 С |
Критическая частота, МГц, при tg 5 |
Параметры петли гистерезиса |
Удельное электрическое сопротивление, Ом х См |
Максимальная рабочая температура, °С |
||||||
|
Новая |
Старая |
0,1 |
0,02 |
Цт.х |
нт, А/м при Мт.« |
В, Тл, при Н = 800 А/м |
Вг, Тл |
Не, А/м |
|||
|
20ВН |
20ВЧ2 |
16.24 |
120 |
65 |
45 |
2000 |
0,2 |
0,1 |
1000 |
10е |
125 |
|
ЗОВН |
30ВЧ2 |
25. .35 |
200 |
110 |
90 |
1600 |
0,26 |
0,07 |
520 |
ю7 |
125 |
|
50ВН |
5ОВЧ2 |
45...65 |
70 |
40 |
170 |
800 |
0,3 |
0,2 |
360 |
106 |
125 |
|
Марка феррита отечественного производства |
Марки ферритовых материалов зарубежных фирм |
|
20ВН, ЗОВН |
К7А, К8, К12, Q3, V17, 68 |
|
50ВН |
Н7В, К1, М11 |